李俊松???發布時間:2021-02-21 18:25:39
如何查詢國際快遞費用?在使用國際快遞之前,我們會了解各國際快遞的收費情況,以便更選擇更合適的國際快遞。目前,雖然能在百度搜索到相關快遞渠道的價格表,但是想要進行價格對比仍然比較麻煩。這意味著我們需要單個查詢多個國際快遞的價格表,然后才能進行復雜的對比。

但是如果我們學會查詢國際快遞費用,那么可以直接了解各國際快遞運費,并且進行國際快遞之間費用的對比,快速選擇適合自己的快遞渠道進行郵寄。所以筆者打算為大家介紹“查詢國際快遞費用”的方式與流程,讓大家能夠自己查詢運費、選擇快遞渠道。
手把手教你查詢國際快遞費用
1、運價查詢系統
首先,我們需要一個運價查詢系統,通過這個系統我們才能進行運價查詢。那么哪里有運價查詢系統呢?目前,頗具規模且有實力的貨代,都會打造自己的物流管理系統,在這個系統中就可以進行運價查詢。以泰嘉物流為例,進入官網首頁之后點擊會員登錄,登錄客戶服務系統之后有一個報價查詢。
點擊報價查詢,可以查詢運費、偏遠兩個。點擊運費查詢,便能進入運費查詢頁面了。需要知道的是,如果沒有賬號是需要注冊的,具體操作練習官網在線客服即可。
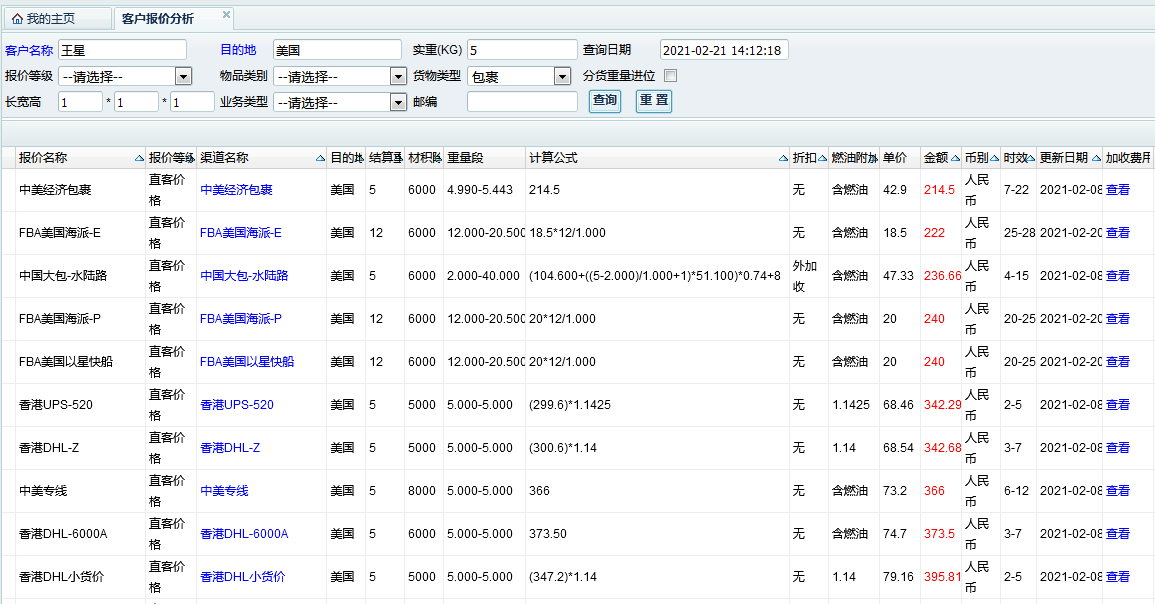
2、輸入對應數據
進入報價查詢頁面之后,我們輸入國家、重量以及其他信息,便能查詢到對應的報價信息。如圖所示,實際上我們只需輸入國家、重量信息,就能找到可承接該重量物品到該國的所有物流渠道信息。各物流渠道信息,由價格低至高排序。
如果大家只想限定某一個范圍,或者精準查詢運價,可以設置物品類型、業務范圍。物品類型,有一般普通貨物、內置電池、配套電池、純電池、仿牌等物品。業務范圍,有國際小包、國際快遞、國際專線、FBA頭程、國際EMS、國際大包等選項。針對性選擇,便可以得到自己更加想要的結果。

3、進行運費、時效對比
輸入對應數據之后便可以點擊查詢,獲取到物流渠道信息。根據自己的物流需求,結合以上時效、價格排序,進而可以進行對比,選擇到最為適合自己的物流渠道。如上圖所示,重量5kg的物品抵達美國價格最便宜的為中美經濟包裹,這是一條中美專線,時效7-15天左右,整體資費僅需214.5元,非常的實惠。
時效最快的是香港UPS 520,這是UPS國際快遞旗下的快遞渠道,雖然資費對比中美專線高,但是物流時效最為快捷,2-5天即可到貨簽收。大家可以根據自己的時效需求,選擇最為適合自己的國際快遞渠道。
4、選擇適合自己的快遞渠道
選擇國際快遞渠道,接下來便可以在線郵寄。如何在線郵寄呢?登陸客戶服務系統,選擇新建訂單,填寫訂單上的各類信息,包括發件信息、物品信息、收件信息、郵編地址等等。新建訂單之后,我們還需要預約上門取件,提供預約時間、預約地址,等待貨代上門取件即可。
國際快遞單號如何查詢呢?
1、貨代系統
國際快遞單號查詢有三個途徑,一個是去貨代的系統去查詢貨物的運輸軌跡,登陸貨代客戶服務系統。
2、承運商系統
還可以在承運商系統進行查詢,例如使用DHL快遞郵寄包裹,便可以在DHL官網進行包裹運輸動態查詢。
3、第三方查詢平臺
最后還可以在第三方平臺查詢,例如快遞100、17TK等第三方平臺,輸入快遞單號、選擇承運商,即可獲得貨物運輸動態。
未經泰嘉物流同意 不得轉載